数据复盘丨主力资金加仓房地产、传媒等行业 北向资金抢筹中国平安、招商银行等
8月15日,上证指数、深证成指、创业板指、科创50指数早盘探底冲高,随后震荡回落,午后持续回落,尾盘有所回升。截至收盘,上证指数报2877.36点,涨0.94%,成交额2549.87亿元;深证成指报8370.12点,涨0.71%,成交额3365.35亿元;创业板指报1592.71点,涨0.53%,成交额1593.08亿元;科创50指数报707.55点,涨0.94%,成交额343.38亿元。沪深两市合计成交5915.22亿元,成交额较上一交易日增加1140.68亿元。
资金流向
1.主力资金
Wind统计显示,沪深两市主力资金今日净流出13.39亿元。其中,创业板主力资金净流出5.25亿元,沪深300成份股主力资金净流出9.84亿元,科创板主力资金净流出2.04亿元。
从行业来看,申万所属的31个一级行业,今日有13个行业主力资金呈现净流入,其中,房地产行业主力资金净流入最多,净流入金额为6.25亿元;行业主力资金净流入居前的还有传媒、非银金融、机械设备,净流入金额分别为5.24亿元、4.37亿元、3.64亿元。18个行业主力资金呈现净流出,其中,银行行业主力资金净流出最多,净流出金额为5.95亿元;行业主力资金净流出靠前的还有医药生物、化工、电子、建筑材料、国防军工,净流出金额分别为5.92亿元、5.76亿元、5.22亿元、4亿元、3.78亿元。

个股来看,今日有2255个股获主力资金净流入,其中,16股获主力资金净流入超1亿元。欧菲光(002456)主力资金净流入最多,净流入金额为4.12亿元;主力资金净流入居前的个股还有金地集团(600383)、赛力斯、国盛金控(002670)、宁德时代(300750)、TCL科技,净流入金额分别为3.32亿元、3.14亿元、2.27亿元、2.05亿元、1.88亿元。

此外,2800只个股被主力资金净卖出,其中,17股被主力资金净卖出超1亿元。主力资金净流出最多的个股是金龙汽车(600686),净流出金额为3.56亿元;主力资金净流出居前的个股还有上海贝岭(600171)、硕贝德(300322)、西藏天路(600326)、博士眼镜(300622)、新易盛(300502),净流出金额分别为2.56亿元、2.51亿元、2.15亿元、1.74亿元、1.55亿元。

2.北向资金
北向资金今日成交额为1011.21亿元,成交净买入122.06亿元。其中,沪股通净买入88.65亿元,深股通净买入33.41亿元。
活跃个股方面,北向资金今日净买入较多的有中国平安、招商银行、中信证券(600030)、贵州茅台(600519)、比亚迪(002594),净买入金额分别为4.68亿元、3.88亿元、3.3亿元、3.14亿元、2.44亿元。北向资金净卖出较多的有东方财富(300059)、美的集团(000333)、工业富联(601138),净卖出金额分别为5.71亿元、3.69亿元、1.15亿元。

3.龙虎榜机构资金动向
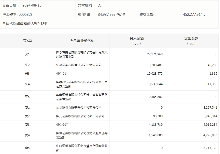
盘后龙虎榜数据显示,今日机构席位资金合计净卖出约1.49亿元。其中,净买入的个股10只,净卖出的个股13只。机构净买入最多的股票是华金资本(000532),净买入金额约1828.98万元;机构净买入的还有西藏天路、腾达科技等股。机构净卖出最多的股票是沐邦高科,净卖出金额约5886.35万元;机构净卖出居前的还有星网宇达(002829)、福斯达、龙旗科技等股。

华金资本今天涨停。盘后数据显示,2家机构出现在龙虎榜单上,合计净买入1828.98万元;华鑫证券有限责任公司上海分公司买入1920.05万元,同时卖出4.03万元;国泰君安(601211)证券股份有限公司深圳益田路证券营业部买入1053.98万元,同时卖出11.14万元。

个股涨跌情况
截至收盘,沪深两市合计3713只个股上涨,1201只个股下跌,平盘个股175只,停牌的个股13只。不含当日上市新股,共有54只个股涨停,11只个股跌停。连续涨停天数看,亚世光电(002952)、博士眼镜、西藏天路、金龙汽车均已连收3个涨停板,连续涨停板数量最多。
从收盘涨停板封单量来看,卓翼科技(002369)最受追捧,收盘涨停板封单有2817.42万股;其次是东方集团(600811)、沙钢股份(002075),涨停板封单分别有2092.41万股、2046.1万股。以封单金额计算,金龙汽车、卓翼科技、沙钢股份等涨停板封单资金较多,分别有1.7亿元、1.17亿元、1.06亿元。

行业板块、概念方面看,行业板块、概念涨多跌少。其中,煤炭、传媒、房地产、汽车、证券、教育、计算机、银行、商贸零售等行业涨幅靠前;网络游戏、AI眼镜、影视概念、广电、3D玻璃、元宇宙概念、数据确权、铜缆高速连接、在线旅游等概念走势活跃。贵金属、美容护理等行业跌幅居前;民爆概念、重组蛋白、新型城镇化等概念走势较弱。涨停个股主要集中在电子、传媒、商贸零售、通信、汽车等行业。

标签: 招商银行
随着科技的飞速发展,建筑设计行业也在不断探索和尝试新的技术和方法。在这个过程中,数字化趋势图逐渐成为了关注的重点。数字化趋势图是一种通过数据可视化的方式,直观地展示建筑设计过程中的各种关键信息,包括但不限于设计风格、材料使用、施工进度等。下面我们就来了解一下这个话题。,数字化趋势图在建筑设计中的应用及其价值
下一篇仪器网站模板,构建专业、高效的在线展示平台,构建专业高效的仪器网站模板,打造在线展示平台标题
相关文章
-
星展:降招商银行目标价至53.5港元 维持“买入”评级详细阅读
星展发布研报称,招商银行(03968)上半年业绩符合预期,纯利同比升0.3%,收入跌1.7%。虽然财富管理业务稳健增长,但整体收入费用同比减少1...
2025-09-04 77 招商银行
-
招商银行跻身“2025年世界500强净利润率最高的50家公司”前十 中国银保机构盈利质量表现亮眼详细阅读
专题:2025年《财富》世界500强揭晓 哪些金融机构上榜? 7月29日金融一线消息,2025年《财富》世界500强排行榜今日揭晓,与此同时,“2...
2025-07-29 67 招商银行
-
招商银行怎么注册_注册公司银行开户流程详细阅读
在数字化金融日益普及的今天,招商银行以其卓越的服务和便捷的金融解决方案,成为了众多用户的首选。若您还未成为招商银行的客户,不必担心,本文将详细指导您如...
2025-04-24 77 招商银行
-
招商银行获中国平安人寿保险股份增持189.25万股 每股作价约38.33港元详细阅读
香港联交所最新资料显示,1月10日,中国平安人寿保险股份有限公司增持招商银行(03968)189.25万股,每股作价38.3298港元,总金额约...
2025-01-16 81 招商银行
-
招商银行:无固定期限资本债券完成发行详细阅读
11月6日金融一线消息,招商银行发布公告称,“2024年招商银行股份有限公司无固定期限资本债券(债券通)”于2024年11月1日簿记建档,并于20...
2024-11-06 112 招商银行
-
招商银行:信用卡行业整体风险还在高位 将继续支持中低风险的优质资产增长详细阅读
11月1日金融一线消息,招商银行今日召开2024年三季度业绩交流会。在信用卡相关问题方面,招商银行管理层表示,在整个的资产质量方面的话,信用卡在我...
2024-11-01 146 招商银行
